Các Phương Pháp Điều Chỉnh Nhiệt Độ Hơi Quá Nhiệt

Có 2 phương pháp điều chỉnh nhiệt độ hơi quá nhiệt : điều chỉnh nhiệt độ hơi quá nhiệt về phía hơi và điều chỉnh nhiệt độ hơi quá nhiệt về phía khói

Cách điều chỉnh nhiệt độ quá hơi nhiệt Nồi hơi – Lò hơi

Có 2 phương pháp điều chỉnh nhiệt độ hơi quá nhiệt : điều chỉnh nhiệt độ hơi quá nhiệt về phía hơi và điều chỉnh nhiệt độ hơi quá nhiệt về phía khói

Điều chỉnh nhiệt độ hơi quá nhiệt về phía hơi

Người ta đặt vào ống lò hơi của bộ quá nhiệt một thiết bị gọi là bộ giảm ôn. Cho nước đi qua bộ giảm ôn, vì nước có nhiệt độ thấp hơn hơi nên sẽ nhận nhiệt của hơi làm cho nhiệt độ thấp hơn hơi nên sẽ nhận nhiệt của hơi làm cho nhiệt độ hơi quá nhiệt giảm xuống. Khí thay đổi lưu lượng nước qua bộ giảm ôn thì sẽ làm thay đổi nhiệt độ hơi quá nhiệt. hiên nay thường dùng 2 loại bộ giảm ôn : bộ giảm ôn kiểu bề mặt và bộ giảm ôn kiểu hỗn hợp .
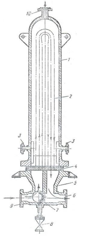
Bộ giảm ôn kiểu bề mặt được biểu diễn trên hình 1.
Ở bộ giảm ôn kiểu bề mặt nước giảm ôn không pha trộn với hơi yêu cầu chất lượng nước giảm ôn không cần cao lắm, có thể dùng nước từ bao hơi. Nước đi vào bộ giảm ôn sẽ nhận nhiệt của hơi qua bề mặt các ống đồng làm cho quá nhiệt của hơi giảm xuống.
Bộ giảm ôn kiểu hỗn hợp : nguyên lý cấu tạo bộ giảm ôn kiểu hỗn hợp được biểu diễn trên hình 2. Nước đi vào bộ giảm ôn sẽ pha trộn với hới quá nhiệt và lấy nhiệt của hơi dể bốc hơi do đó làm cho nhiệt độ của hơi quá nhiệt giảm xuống.

cấu tạo bộ giảm ôn bề mặt nồi hơi - lò hơi Cấu tạo giảm ôn hỗn hợp nồi hơi - lò hơi
Hình 1 : cấu tạo bộ giảm ôn kiểu bề mặt
1.vỏ; 2-ống đồng chữ U; 3-nước lò vào và
ra; 4,5- ống nối; 9,6-Nước vào và ra; 7,8 van
điều chỉnh
Hình 2 cấu tạo bộ giảm ôn hỗn hợp
1 – ống góp, 2 – ống khuyếch tán,
3 – mũi phun

 

Ở bộ giảm ôn kiểu hỗn hợp, nước giảm ôn pha trộn với hơi quá nhiệt yêu cầu chất lượng nước giảm ôn rất cao , thường dùng nước ngưng của lò bão ở hình 3a hoặc nớc cấp như hình 3b

nối bộ giảm ôn với đường nước nồi hơi - lò hơi cách bố trí bộ giảm ôn
Hình 3. Nối bộ giảm ôn với đường nước lò hơi
hoặc nước cấp. a-Dùng nước lò; b-Dùng nước cấp.
1-bao hơi;2 – Bộ giảm ôn; 3-BQN; 4-Hơi tới tuabin;
5-Nước cấp; 6-lấy xung lượng điều khiển nhiệt độ hơi
              Hình 4: các bố trí bộ giảm ôn

 

Cách bố trí bộ giảm ôn Nồi hơi – Lò hơi

Cách bố trí giảm ôn được trình bày trên Hình 4

  • Nếu bố trí ở đầu vào ( ống góp thứ nhất như ở hình 4a ). thì sẽ điều được nhiệt độ trong toàn bộ quá nhiệt, nhưng có nhược điểm là quán tính nhiệt lớn, tác động chậm do đó bộ quá nhiệt và tuabin sẽ bị đốt nóng quá mức trong khoảng thời gian chưa kịp tác động
  • Nếu bố trí ở đầu ra bộ quá nhiệt ( ống góp thứ 3 như hình 4c ) thì quán tính điều chỉnh nhiệt bé , do đó tuốc bin được đảm bảo an toàn tuyệt đối, nhưng có nhược điểm là bộ quá nhiệ không được bảo vệ, do đó bộ quá nhiệt sẽ bị đốt nóng quá mức, tuổi thọ bộ quá thiệt sẽ giảm xuống và có thể làm nổ ống.
  • Để khắc phục nhược điểm trên thương người ta bố trí bộ giảm ôn nằm giữa 2 cấp của bộ quá nhiệt ( ông góp giữa như hình 4b)

Điều chỉnh nhiệt độ hơi quá nhiệt về phía khói 

Có thể điều chỉnh nhiệt độ hơi quá nhiệt bằng cách thay đổi nhiêt độ, lưu lượng khói đi qua bộ quá nhiệt hoặc thay đổi đồng thời cả nhiệt độ và lưu lượng khói .

  • Điều chỉnh lưu lượng khói đi qua bộ quá nhiệt
  • Điều chỉnh lưu lượng khói đi qua bộ quá nhiệt là làm giảm hay tăng lượng khói đi qua bộ quá nhiệt là giảm hay tăng lượng khói đi qua bộ quá nhiệt bằng cách cho một phần khói đi tắt qua đường khói không đặt bộ quá nhiệt nhằm giảm lượng nhiệt mà bộ quá nhiệt nhận được , do đó làm giảm nhiệt độ quá nhiệt .
  • Sơ đồ đường khói đi tắt được biểu diễn trên hình 5
  • Điều chỉnh nhiệt độ khói : điều chỉnh nhiệt độ khói qua bộ quá nhiệt bằng cách thay đổi góc quay của vòi phun , cho vòi phun hướng lên trên hoặc xuống dưới làm thay đổi vị trí trung tâm của ngọn lửa hình 6, do đó làm thay đổi nhiệt độ khói ra khỏi buồng lửa tức là thay đổi nhiệt độ khói ra buồng lửa tức là thay đổi nhiệt độ khói đi quá bộ quá nhiệt, làm thay đổi nhiệt độ hơi quá nhiệt.

các dạng đường khói đi tắt qua bộ quá nhiệt

Hình 5 : Các dạng đường khói đi qua bộ quá nhiệt

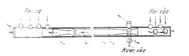
  • Kết hợp vừa điều chỉnh nhiệt độ khói vừa điều chỉnh lưu lượng khói : Điều chỉnh đồng thời nhiệt độ khói và lưu lượng khói bằng cách trích một phần khói ở phía sau bộ hầm nước đưa vào buồng lửa ( còn gọi là tái tuần hoàn khói, hình 7) . Khi trích một phần khói ở phía sau bộ hầm nước đưa vào buồng lửa, nhiệt độ trung bình trong buồng lửa sẽ giảm xuống làm cho nhiệt lượng hấp thu bằng bức xạ của dàn ống sinh hơi giảm xuống, nghĩa là nhiệt độ khói ra khỏi buồng lửa tăng lên, trong khi đó lưu lượng khói đi qua bộ quá nhiệt tăng lên làm cho lượng nhiệt hấp thu của bộ quá nhiệt lên , dẫn đến nhiệt độ hơi quá nhiệt cũng tăng lên .
điều chỉnh nhiệt độ quá hơi điều chỉnh nhiệt độ quá hơi 2
Hình 6 điều chỉnh nhiệt độ hơi quá nhiệt
bằng cách thay đổi vị trí trung tâm ngọn lửa
nhờ quay vòi phun
Hình 7  Điều chỉnh nhiệt độ hơi quá nhiệt
nhiệt bằng cách tái tuần hoàn khói
1-Vòi phun; 2-Bộ quá nhiệt; 3 – Bộ hâm nước;
4- Bộ SKK; 5 – Quạt gió tái tuần hoàn; 6 dòng khói